******suncitygroup太阳集团(股份)有限公司-官方网站
今天是:
设为首页加入收藏联系我们
安全宣传
当前位置: 首页 >> 新闻中心 >> 安全宣传 >> 正文
资源与安全工程学院开展新学期实验室安全回头看暨实验室安全知识培训
2023-09-08 14:08  

根据学校实验室管理及消防安全相关规定要求,秋季开学前学院组织安全检查小组于8月28日开展了实验室安全大检查,同时充分利用学校新启用的“实验室安全信息管理平台”,对院属所有科研、教学实验室开展安全、卫生、消防大检查。检查组由吝曼卿副院长带队,各专业实验室相关负责人参加。

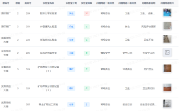
通过检查,实验室各房间水、电设施运转良好,应关尽关;灭火设施配置齐全;化学药品柜配置规范,卫生环境较好,学院整体安全情况良好。同时也存在一些问题,及时通过“实验室安全信息管理平台”实时发布。共计发现隐患7间次。

9月7日上午学院组织检查小组开展实验室安全隐患回头看,对前期涉及安全隐患实验室重点复查。实验室各房间水、电设施运转良好;化学药品柜配置规范,卫生环境较好,整改到位,学院整体安全情况良好。为新学期实验室安全、平稳运行创造了良好开端。

为进一步宣传实验室安全管理知识,规范实验室管理,强化实验室安全意识。9月7日下午召开全院大会之际,学院实验中心李志国主任专门做了“强意识 排隐患 保安全”主题报告。报告梳理了近几年高校实验室安全事故,分析总结了触发安全事故的主要原因在于违反实验操作规程、实验操作不慎,反映出:实验人员安全意识淡薄、操作不规范,实验环境有安全隐患,就此着重强调“强意识 排隐患 保安全”。同时全院教职工一起学习了国家、学校、学院三级实验室安全管理相关规章制度,重点解读了建立健全全员实验室安全责任制。全院实验相关教师,表达了加强学习、提高意识、勤练技能、规范操作、共筑实验室安全防线的强烈意愿,报告取得圆满成功。

(审稿人:江本武)

关闭窗口